Changzhou Longde TD Machinery Co., Ltd.
  • Inicio
  • Sobre nosotros
  • Productos
  • Aplicaciones
    Procesamiento de leche Producción de yogurt Producción de helados Producción de jugo de frutas y vegetales Elaboración de salsas Elaboración de cosméticos Producción biofarmacéutica
  • Noticias
  • Contacto
  • Inicio
  • Productos
  • Centrífuga vertical
  • Centrífugas verticales, descarga por el fondo

Vertical Basket Centrífugas verticales, descarga por el fondo

Centrífugas verticales, descarga por el fondo

Como breve descripción decimos que este tipo de centrífugas verticales con descarga por el fondo son usados para realizar separación de los sólidos de suspensión granular de la fase líquida. Cabe resaltar que la consecuencia del principio de funcionamiento de este tipo de centrífugas es la limitación de la intervención de una persona a simple función de vigilancia y a las operaciones de limpieza cuando eventualmente se cambia de producto. El producto está protegido y no concurre en contaminación por contacto manual o manipulación incorrecta. Este tipo de centrífuga está equipada con un aparato de eléctrico de resistencia a la explosión y cumple con los requerimientos de separación de materiales inflamables y tóxicos.

Ofrecemos estos equipos con diámetro máximo de la canasta en 1600mm, tiene un volumen de 790 litros y puede tener un cargo mayor a los 1000 kilos en materiales. Somos una fábrica seria, profesional, responsable y con gran experiencia, garantizamos ante todo calidad en los equipos, asimismo ofrecemos servicio de personalizado y cumplir con sus requerimientos tanto en las dimensiones, estructuras del equipo y dependiendo a que industria vaya dirigida.

Aplicaciones
  • Separación de materiales químicos en crudo
    Yeso, mirabilita, sulfato de cobre, cloruro de potasio, pigmentos, resinas, pesticidas, etc.
  • Separador de alimento en polvo
    Sal, glutamate de monosodio, aditivos de alimento, almidón, azúcar, condimentos, etc.
  • Separaciones de medicinas
    antibioticos, vitaminas, etc
Especificaciones (Opciones de modelo)
Modelo Diámetro de la canasta (mm) Volumen nominal (L) Máx peso de llenado (Kg) Velocidad de la canasta
(R/min)
Fuerza G Potencia de motor Altura de operación (condición de tapa abierta) (mm) Peso
(Kg)
Dimensiones
(mm)
LGZ-800 800 100 135 1200/1500 645/1008 7.5/11 2130 2500 1800×1300×1880
LGZ-1000 1000 175 235 1000/1200 560/806 11/15 2500 3500 2100×1430×2150
LGZ-1250 1250 400 530 1000/1200 700/1008 22/30 3000 4500 2300×1700×2350
LGZ-1250A 1250 505 650 1000 700 22 3120 5000 2300×1700×2700
LGZ-1500 1500 625 935 880 645 37 3650 7800 2800×2050×2820
LGZ-1600 1600 790 1050 850 647 37 3785 8500 2900×2160×2820 
Ofrecemos distintos tipos de centrífugas para cumplir con los diversos requerimientos de separación. Le recomendamos revisar cada uno de los modelos y comentarnos el de su preferencia antes de realizar alguna orden:
  • Las propiedades de los materiales que son separados.
  • Selección de materiales: acero inoxidable, titanio y acero al carbono son elegidos como los de contacto con el material para ser separado; hule, plástico y tetrafluoro son elegidos como los materiales para realizar el sellado de las partes.
  • Modo de operación: Motor asíncrono ordinario, motor de resistencia a la explosión o motor convertidor de frecuencia.
Estructura
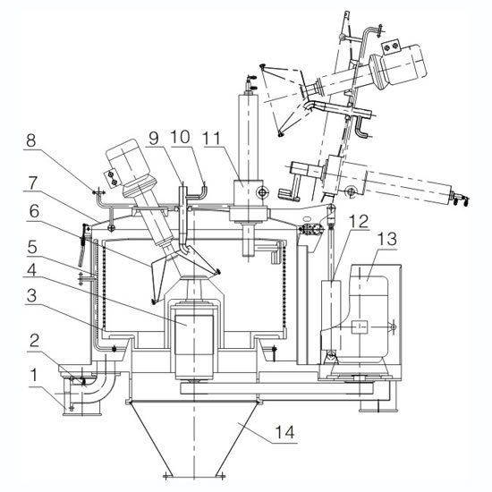
Centrífugas verticales, descarga por el fondo
  • Damper (Fija la anti vibración)
  • Tubería de salida
  • Canasta
  • Motor de transmisión
  • Limpieza de parte del fondo
  • Bandeja de inclinación
  • Cubierta
  • Limpieza de parte superior
  • Tubería de alimentación
  • Tubería de lavado
  • Cuchillo rascador
  • Cilindro de cubierta de aceite
  • Motor
  • Tolva de salida
Características
  • Este equipo descarga materiales desde la parte del fondo, filtra y descarga los desechos de manera automática.
  • El cubierto superior de este equipo está totalmente abierto, lo cual permite garantizar el fácil limpiado.
  • Este equipo está integrado con programas PLC (controlador lógico programable), motor AC de velocidad variable y dispositivos seguros para de esta manera alcanzar la operación de seguridad automática.
  • Nuestro equipo realiza las funciones completas de alimentación, filtrado, lavado y descarga, todo esto realizado en la canasta. Asimismo usamos la inerciación de nitrógeno para de esta manera alcanzar la resistencia a la explosión cuando se tenga la más alta velocidad de centrifugado, y cabe resaltar que como parte de accesorio opcional es el dispositivo de medición de oxígeno que puede ser pedido por el cliente.
  • Este equipo posea sistema CIP (limpieza en sitio), y estamos orgullosos de brindar y conseguir los estándares GMP (en sus siglas en inglés de Buenas Prácticas de Fabricación).
  • También como accesorio opcional es la cuchilla de raspado, éste puede ser pedido por el cliente y es usado para evitar que los materiales se adhieran en las paredes internas de la canasta, garantizando de este modo que no exista algún tipo de residuos en la pared luego de ser descargado.
  • Integramos al equipo con plato de inercia y dampers de vibración de alta precisión con la misión de absorber y retener todo tipo de vibración en el momento que esté en operación, brindando y garantizando una mejor condición estable para la centrífuga, de esta manera se envía todo tipo de vibración a la parte del fondo o ambientes circundantes.
Otros productos
    1. Centrífugas verticales, descarga por la parte superior
    2. Centrífugas verticales, descarga por la parte superior
    1. Bomba centrífuga
    2. Bomba centrífuga
    1. Bomba lobular rotativa
    2. Bomba lobular rotativa
    1. Homogenizadores
    2. Homogenizadores

Contacto

Changzhou Longde TD Machinery Co., Ltd.
Dirección.: No 706, Building 1 of Fuchen Gardewn, Xinbei District, Changzhou.

Persona de contacto: Delia Ding (Miss)

Consulta
  • Productos List
    1. Separador centrífugo
    2. Centrífuga vertical
    3. Bomba centrífuga
    4. Bomba lobular rotativa
    5. Homogenizadores
    6. Mezclador emulsionador
    7. Pasteurizador
    8. Tanque mezclador
    9. Marmita a vapor
    10. Llenadora por peso
    11. Tapadora de cubeta
    12. Envasadora vertical
    13. Accesorios
Inicio Sobre nosotros Productos Aplicaciones Contacto
Supported by ETW International Inc. USA